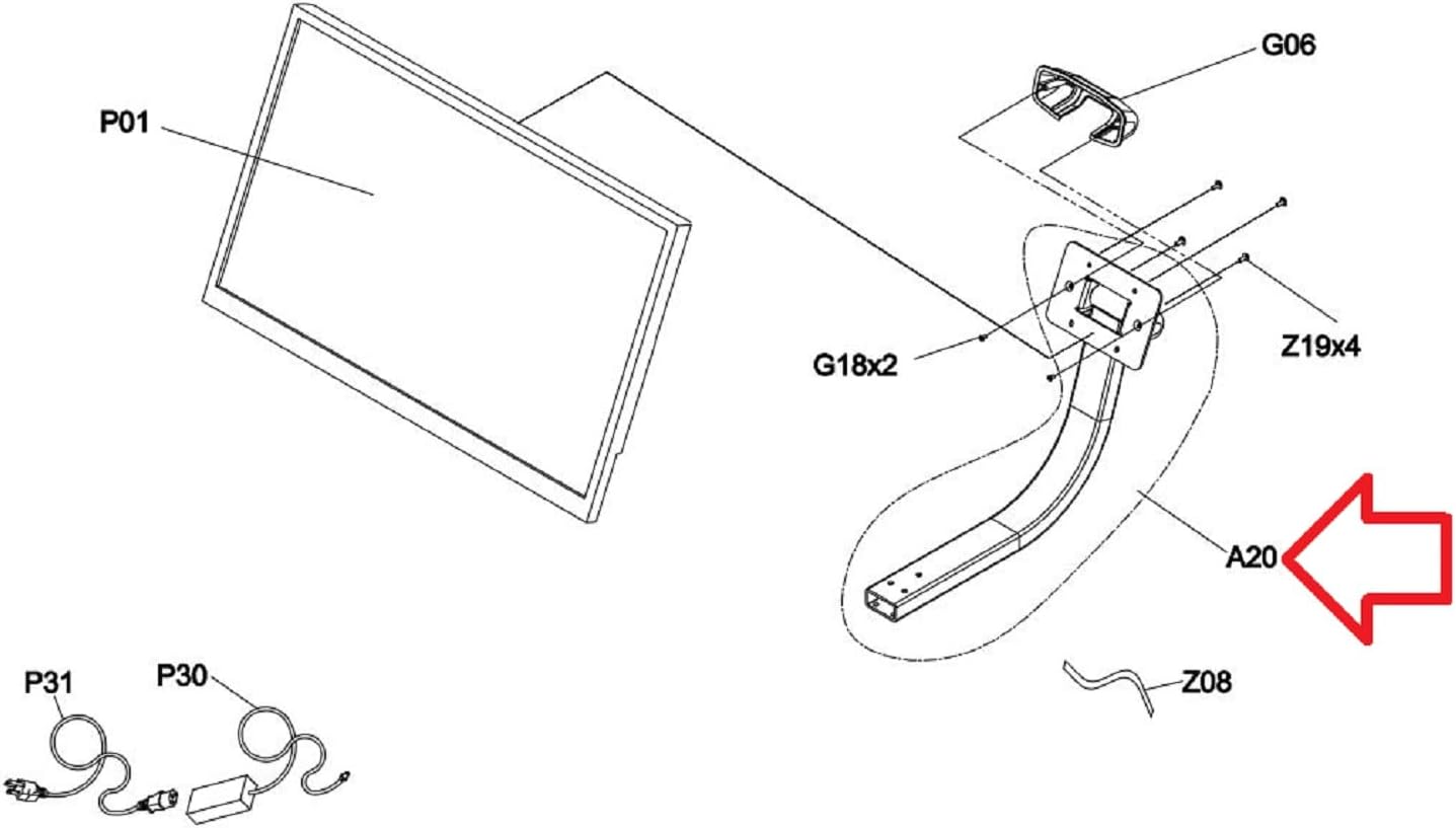
Matrix Retail Stationary Bike Console Mast Set 1000456219
Catalog Number: 916073
"Have fitness repair parts to Sell?"
Use our wizard and list them for FREE on our exchange
OR
Sell them lot to us using this form
Secure Checkout With

IMPORTANT: Want to see a complete parts list and/or diagram of your fitness equipment?
If so, have your model/serial number from your frame ready and click here.
If so, have your model/serial number from your frame ready and click here.
Item Description
Item Part #: 1000456219
Item Condition: New
Used on the following models:
Matrix Retail
Performance Series Upright Cycle (U-PS-F) | CB95 | 2020
Performance Series Upright Cycle (U-PS-F-02) | CB98 | 2025
Updated List 2025
ICR50 | FC205 | FC54 | 2020
IX Display | AS2013 | 2020