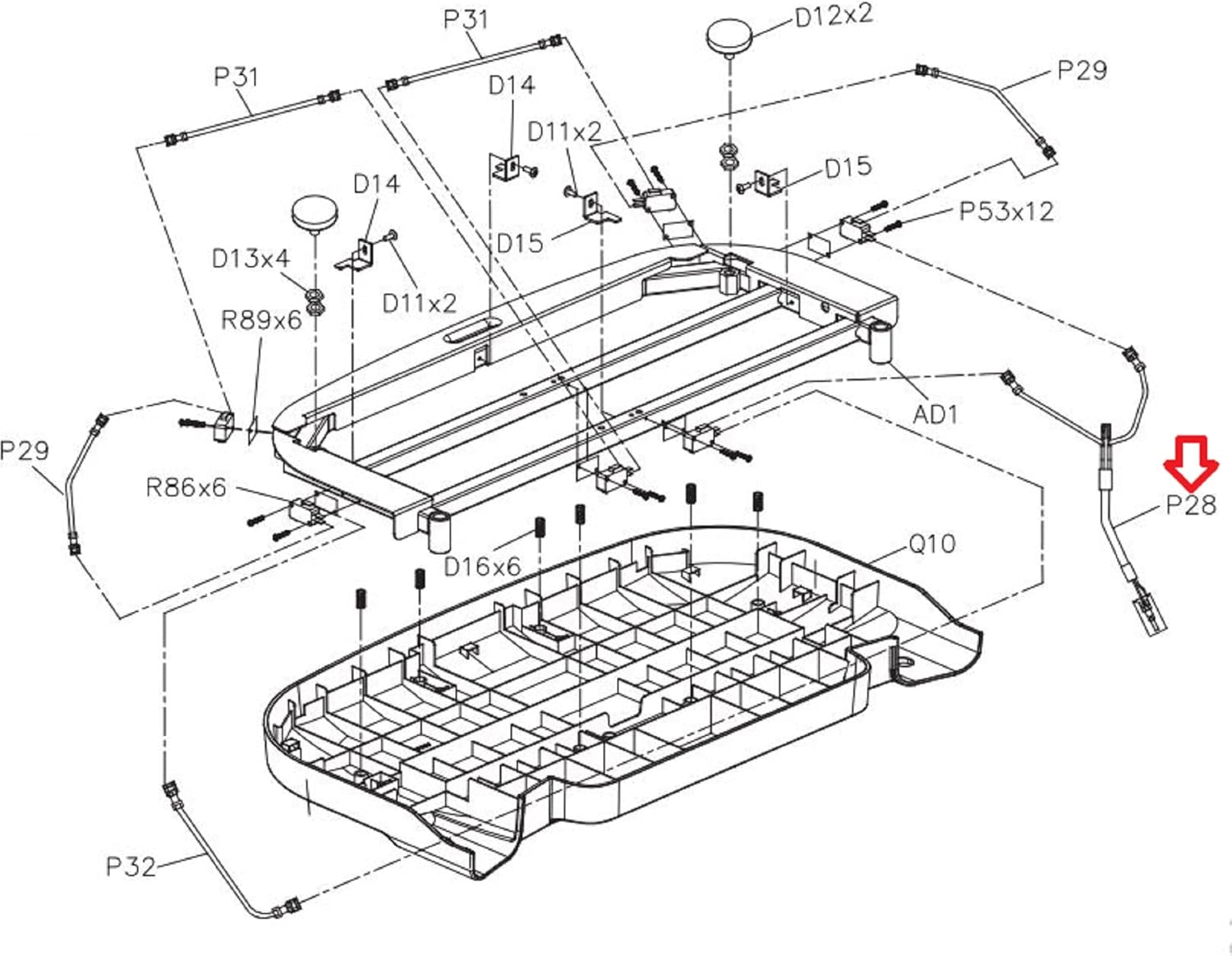
Matrix Retail Stepper Step Limit Switch Wire A 1000404312
Catalog Number: 904679
"Have fitness repair parts to Sell?"
Use our wizard and list them for FREE on our exchange
OR
Sell them lot to us using this form
Secure Checkout With

IMPORTANT: Want to see a complete parts list and/or diagram of your fitness equipment?
If so, have your model/serial number from your frame ready and click here.
If so, have your model/serial number from your frame ready and click here.
Item Description
Item Part #: 004978-00
Item Condition: New
Used on the following models:
Updated List 2025
Matrix Retail
C50 XR | CS31 | CTM697 | 2019
C50 XIR | CS31 | CTM699 | 2019
C50 XER | CS31 | CTM698 | 2019
C50-02 | CS38 | 2020