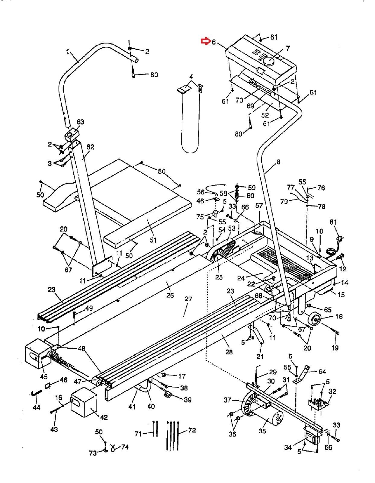
Weslo CADENCE 825 - WETL82541 Treadmill Display Console Assembly 120465
Catalog Number: 1037788
"Have fitness repair parts to Sell?"
Use our wizard and list them for FREE on our exchange
OR
Sell them lot to us using this form
Secure Checkout With

IMPORTANT: Want to see a complete parts list and/or diagram of your fitness equipment?
If so, have your model/serial number from your frame ready and click here.
If so, have your model/serial number from your frame ready and click here.
Item Description
Condition Used
Used on the following models:
Weslo
CADENCE 825 - WETL82541